2008/03
- 今月の一言
- 日ごろの筆のおぼつかなさを嘆きつつ、ずるりずるりと書き連ねし我が部日誌。まぁ読めよ。
ぐるぐるぐるぐるぐるぐるぐるぐるぐるぐるぐるぐるぐるぐるぐる
昨日郵便が玄関まで届けられたので何かと思ったら、大学の後期試験の受験票でした。
・・・・・・・・死亡フラグか?
この話は、前に紅竜刀としたのですが、まさか来るとは。いくらなんでもこんな形で不合格を言い渡すことはないと思うので、ただ届けただけと思いたい。
受験生を不安な気持ちにさせるとは酷いと思うぞ。
では今日は理科のお勉強です。物理と化学です。
理科―Sciences
物理
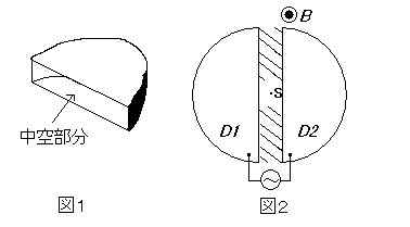
- 電極 D1 の電位が電極 D2 の電位より大きさ V だけ高いとき,初速 0 で イオン源 S から出た電荷 q の荷電粒子は, D1,D2 のどちらの電極の中 空部分に入るか理由と共に答えよ。 また,電極の中空部分に入ったときの荷電粒子の速さ v1 を求めよ。
- 荷電粒子は電極の中空部分にいる間,磁場から力を受け円運動を行う。 荷電粒子は図 2 において,時計回り,反時計回りのいずれの運動を行な うか理由と共に答えよ。 また,速さ v1 で荷電粒子が電極の中空部分に入ってから,出るまでの時 間 t1 を求めよ。
- 荷電粒子が問 (ⅱ) の円運動の後,電極の中空部分から出るときに,電極 D1 の電位を電極 D2 の電位より V だけ低くする。荷電粒子が向 かいの電極の中空部分に入るときの速さ v2 を求めよ。
- 荷電粒子が電極間で毎回加速されるための交流電圧の振動数 f を求めよ。
- 電極の中空部分での円運動が R であるとき,荷電粒子の運動エネ ルギーを求めよ。
- 投げ出した小球が地面に落下する前に,・ヌに衝突するために必要な l の 条件を v0 と g を用いて表せ。 以下の問では問 (ⅰ) の条件が満たされているものとする。
- 小球が壁に衝突した位置の y 座標を求めよ。
- 小球が壁に衝突する直前の速度の x 成分と y 成分を求めよ。
- 壁に衝突してはねかえった後の小球の座標を,衝突後の経過時間 T を含 む式で表せ。ただし,小球はまだ地面に落下していないものとする。 なお,はねかえり係数が一般に e のとき,衝突直後の速度の x 成分は直 前のそれの -e 倍となり, y 成分は衝突直前と直後とで変化しない。
- 壁に衝突してはねかえってきた小球が,投げ出した地点に落下するとき の l を v0 と g を用いて表せ。
- B,C,D のそれぞれの温度TB,TC,TDを求めよ。
- A→B→C の間に気体が得た熱量を求めよ。
- C→D→A の間に気体が失った熱量を求めよ。
- 1 サイクルの間に気体が外にした仕事を求めよ。
- 1 サイクルにおける熱効率を求めよ。
- A~Fの元素記号をそれぞれ記せ。
- Aの酸化物の結晶の単位格子は,下図のように立方体の形状である。この 酸化物の密度はいくらか。酸素の原子量を 16,アボガドロ定数を 6.0 × 10^23 / molとする。
- (a) Bの原子の電子配置を例にならって記せ。 (例:C K(2),L(4)) (b) Bの陽イオンと同じ電子配置を持つ希ガスの元素記号を記せ。
- 1.0 g のBの単体を水と反応させた時発生する気体は,27℃,1.0 × 10^5Pa で何 l か。気体は理想気体としてふるまうものとする。気体定数を R = 8.3 × 10^3Pa・l / (K・mol)とする。
- 強調部(ⅰ)の電解精錬では,低純度と高純度のDの金属板をそれぞれ陽極, 陰極とし,Dの硫酸塩の水溶液中で電気分解を行う。 (a) 電解精錬で 9.7 × 10^3 C の電気量が流れた時陰極の質量の変化 はいくらか。増加か減少かも明らかにすること。ファラデー定数 9.7 × 10^4 C/mol とする。 (b) 陽極に不純物として金や銀河含まれていたとすると,これらは電解後 にどうなっているか。
- 強調部(ⅱ)の反応を化学反応式で表せ。
- Aの構造式を記せ。異性体が考えられる場合には,それらを全て書け。
- Bの構造式を記せ。
- (ⅰ)と(ⅱ)の解答の中で,平面偏光に対する性質の違う 2 種類の異性体が 存在するものがある。その構造式をおおきく○で囲め。
- Fともう 1 つの原料Gから,繰り返し単位にエステル基をもつ合成ポリマー (ポリエステル樹脂)が得られる。Gとして適切なものを以下の中から選び,記 号で答えよ。 (ア) CH2=CH-Cl (イ) H2N-CH(CH3)-Co2H (ウ) C6H5-NH2 (エ) HO-CH2CH2-OH (オ) H2N-(CH2)6-NH2
- AからCを合成する際に,不純物としてEやFが副生することがある。Cを 精製するにはどうしたらよいか。根拠を含めて 3行程度で答えよ。
- ナフタレン 100 g に,4.00 g のBを溶かしたところ,純粋なナフタレンに比 べて,融点が 2.26 K 低下した。同じ条件で,分子量が未知の物質 4.00 g を溶かして融点を測定したところ, 1.13 K 低下した。この未知物質の分子量 を求めよ。ただし原子量を H 1.0,C 12,O 16 とせよ。
数学より長かったかも分からんね。絵も描くとか。ばかげてる。
実はこれやってるとここ間違えたんじゃね、とか不安になってくる。うpした後手直しして見やすくしています。nidaだとスクロールしちゃうけど、そのまま見るのに問題はないでしょう。
英語は死にそうだな。2日に分けてやるか。そういえば、掲示板がなにやらご臨終みたいなのですが、レンタル先が原因と思われます。数日で直らないようなら新しいのを用意します。ではしりとり。
しりとり
- リサイタル(りさいたる)
- ジャイアン(ジャイアン限定ではないが)がたまに無料で開催する地獄(ジャイアン限定(?))のミニコンサート。私は生で見たことはない。
次回はニック。テスト期間中に乙。クラス内3位以上を目指してくれい。
どうも、試験期間中にも関わらず遊びほうけているニックです。
クラス内三位ですか……。行けなくも無い気持ちもありますが、保険とかの実技科目を華麗にスルーしているのでちょっとキツイかも知れないです。
実技科目のあった第二回試験ではどうにか三位を取ったものの一位の奴と合計点13科目で100点差でしたからね。
そうだ、いい事思いついた。あいつを殺せば俺は一位だwwww
さて今日のしりとり。また『る』か…
しりとり
- るるるメイドインワリオ(るるるめいどいんわりお)
- GBAソフト「まわるメイドインワリオ」内のタイトル画面でひたすら回し続けるとタイトルがこれに変化する。
- 特に本編に何の影響もない。
次回は蜀。
ここで業務連絡:倫理の時事問題でイ・ミョンバクはガチですよ、蜀さん。
今日はひな祭りですね。まぁ、男子の俺には全く関係ないので華麗にスルーさせていただきます。
最近「患部で泊まってすぐ溶ける」の歌詞暗記しようと頑張ってます。
歌詞の種類はそんなに多くないからパターンさえ覚えればいけると思うんですがね。
そういえば、シャナやっと追いつきました。
悠二の悲鳴がリアルすぎて、大爆笑しました。なんかもうそんなことしか印象に残ってません。
テストに期間中なのに何s(ry
しりとり
- オリマー(おりまー)
- スマブラXに登場する操作キャラ。
- ピクミンを投げるなどの戦法のためリーチが若干長い。
次回はかうさん。
無事運転免許を取得しました。
ホント長かったなぁ。ほぼ二ヶ月かかったよ。
あとwii買った。
別にシレンが出るまで必要ないんだけど、家族が早く買えと煩いので買ってしまった。
シレンが出るまではバーチャルコンソールで古いゲームをやることになりそう。
でも半分くらいは実機であるんだよなぁ・・・
しりとり
- 満腹度(まんぷくど)
- 不思議のダンジョンシリーズに出てくるパラメータの一つ。
- 初期状態だと100%で10ターン毎に1%減り、0%になると毎ターンHPが1減る。
- おにぎり(パン)や草、肉を食べることで回復できる。
- また盾や腕輪の効果で腹が減る速度を変えることもできる。
- 満腹度を回復する手段がないときに死ぬと餓死と言われる。
次回は自敬さん。
英語は時間がかかりますね。今回はお預け。
先日、携帯を手に入れました。妹が買うというついでに勝手に買ってもらいました。
コードギアスの選考上映試写会に応募したのですが、落選のはがきが届きました。そんなものはいらなかったです。わざわざ送り返すとはごくろーなこってす。
今日は学校に集合の日でした。通知表やら、アルバムやらをもらいに行きました。
どうも今日はしまらないのでこのへんで。
しりとり
- ドドリア(どどりあ)
- 1.果物。味は知らね。
- 2.ドラゴンボールのキャラで、フリーザの手下。べジータ曰く、力が自慢らしかったが、べジータに消された。戦闘力23000程度と予想される。
明日はニック。テスト乙。
どうも、テスト終りました。ニックです。
三位以上になれるかどうかは相変わらず微妙なラインですね。暗記科目は何とかなったけど、実技と英語が…
詳しい醜態は後日お知らせします。
さて、今日も話題が無いのでゼルダでいきましょう。リンクのボウガントレーニング+Wiiザッパー
どうなんでしょうね。コレ。どう見ても抱き合わせにしか見えないんですが…。
第一リンクがボウガンって…。ちょっと文化的すぎやしませんか?まあ拳銃持ってドンパチよりもまだ良い方ですが。
どうやらストーリーはトワプリを似た世界観の様ですが、エンディング後とかそういった繋がりは無い模様。
ただ単に「ザッパーできたお」「じゃあ作るお」から始まったプロジェクトでしょうか?
なんかこう……しまりが無い
しりとり
- アンサイクロペディア(あんさいくろぺでぃあ)
- 八百科事典。
- 通常のwikiと違ってユーモアが無ければ削除対象の修羅場
明日は蜀。
テスト終わりました。3位どころか10位も無理です。
人生最悪の出来ですね。さすがに赤点はないが…。
今日町田高校では卒業式が執り行われます。
先輩の方々が無事卒業していることを心からお祈り申し上げます
さて、そのためPC同好会の部員も私とニックだけになるのですが…
この日記は私とニックの2人で運営することになってしまうのか!?。
別にOBだっていいじゃないかって事で先輩方を引き込むことが出来るのか!?。
そして、紅竜刀さんに借りたテイルズをどうやって返せばいいのか!?
しりとり
- 熱海(あたみ)
- 温泉。以上
次回もお楽しみに。
どうも、かうです。
蜀さんも言ってたように昨日卒業式でした。
なんだかんだ打ち上げに参加しました。一次会だけだけど。
行く気なかったけど、電話されたら断る訳にもいかないでしょ。
クラスの人間とはあまり関わりがなかったけど、結構淋しいもんだね。喪失感で一杯だ。
もう彼らとは同窓会まで会わないんだろうな。
いや、同窓会に行かなければ一生会うことはないだろう。
そういえばパソ部では打ち上げ(と言う名のゲーム大会)をやるのかな?
やるとしたら全員の進路が決まってからが妥当だよね。
世界樹の迷宮買ったんだけどさ、あれゆとりには厳しすぎる。
もう3回全滅しましたよ。まぁ内2回は全滅覚悟で挑んだボス戦だから、まぁよしとするとしても、残りの1回はフツーに雑魚戦とか酷すぎる。
多分さ、バードって地雷なんだよね。もしくは上級者向けの職業。
はっきり言って、こいつの使えなさは異常。もう今となっては大器晩成型だと信じるしかない。
さて、しりとり。
しりとり
- 三日月湖(みかづきこ)
- 川が蛇行した時に取り残された川が湖になったもの。
次はニックさんです。
あれ?自敬さん……。いや考えるまい。深読みはしないニックです。
まずは皆さんご卒業おめでとうございます。晴れて高卒ですね。
一年生はこの時期は暇過ぎる時期です。(一部来年から一緒にお勉強できなさそうな人々を除いて)
あと数週間は学校で球技大会やら修学旅行のためのアサヒった沖縄ビデオを見てgdgd過ごすのです。
そして数週間後には春休み。そして春休み明けは新しいクラスで青春の扉をスタート、と書いてみるテスト。
打ち上げって本当にやるんでしょうかね。とりあえず連絡が来るまで行動は起こさないつもりです。
打ち上げになったらなったでボンバーマンはかうさんの独壇場になるんだろうなぁ。
しりとり
- コキリの森(こきりのもり)
- ゼルダの伝説時のオカリナに登場する地名。名前がジブリっぽい。
- 語源:「木こりの森」⇒「コキリの森」
次は蜀さんです。
どうも蜀です。テストかえって来ましたよ
終わったというかオワタというか。えぇ、とにかくだめでした
こんな結果を誰も見てないとはいえネット上に出すのはきついので書きません。
さて明日は球技大会ですよ。
朝は雨だったのに帰り際に見事に晴れやがったのであしたは球を無意味に追いかけることになりそうです。
面倒ですね。今ならかうさんの気持ちがよくわかります
そろそろしりとり。
しりとり
- リィンバウム(りぃんばうむ)
- サモンナイトに登場する世界の名前。
- 主に人間が暮らしマナであふれている。
次回はかうさん。打ち上げをやるなら俺かニックまで連絡ください。
きっと全ての原因は前衛パラディン・レンジャー、後衛アルケミスト・メディック・バードなどという間違ったパーティーにあるのだと思う。
どうも、かうです。いきなり意味が分からないと思いますが、分かる人には分かります。ソードマンいないとか有り得ん。
以下無駄に長い世界樹の迷宮のレビュー。うざいと思う奴はしりとりまで読み飛ばせ。
世界樹の迷宮の終りが見えません。
レベルは30台後半で一般的なRPGならそろそろ最終局面と言ったところですが、ダンジョン的にはまだまだ終りそうにありません。
これはクリア適正レベルが70~80と言うことなのだろうか?
もちろん攻略サイトなんてものはクリアするまでお預けです。
そんな世界樹の迷宮ですが、戦闘面で気になった点をいくつか。
まず、前衛・後衛の概念。
前衛は攻撃を受けやすく、後衛は攻撃を受けにくい。ただそれだけです。
体感的には92:8くらいで、圧倒的に前衛に攻撃が集中します。
そして職業によって前衛向き・後衛向きがありますが、後衛向きの職業は『攻撃を受けないのが前提』と言ったような紙耐久なのです。
どのくらい紙かと言うと、ボスの強打撃一発で落ちます。
さぁ、そこで問題です。
メディックと言われる所謂僧侶系職業は前衛向き・後衛向きのどちらでしょう?
・・・もちろん後衛向きです。
そして所謂ザオラル系が使えるのはこのメディックしかいません。
『じゃあメディックが死んだらどうすんだ。世界樹の葉に匹敵するアイテムはないのか?』
・・・もちろんあります。大変安価です。『一つしか持てない』みたいな制約もありません。ただ復活時のHPがごく僅かです。
さて、ここまで話してきましたが、これはボス戦の話。
残念なことに普通のボスは全体攻撃をします。全体攻撃をしないボスはドラクエで言ったら3のボストロール、4のギガデーモン、5のゴンズ・・・
あれ?思いの外存在しますが、まぁ大体は全体攻撃をしてくることとしましょう。
要は復活しても、またすぐ死ぬと言うことです。
『じゃあ素早さの遅い奴に蘇生アイテムを使わせて、次のターンに回復すればいいじゃん。』
当然の思考です。これが次の話に繋がります。
続いてスキル(所謂特技)の話。
どうやら一部の防御系スキルを除き、スキル使用者の行動が素早さに関係なく後回しになるみたいです。
普通のRPGは特殊な特技(アストロンとか)を除けば行動の順番は素早さ依存ですが、どうやらそうじゃないっぽいのです。
これはかなり深刻。普通はHPが減ったら回復呪文を使いますが、世界樹の迷宮だと回復スキルですら後回しにされるので、先読み回復が必要なのです。
さらに酷いのはスキル同士の時。
おそらくスキル同士の時は素早さに依存して順番が決まると思うのですが、もし順番が
敵通常攻撃→味方回復スキル→敵攻撃スキル
だと、かなり絶望的。
つまり回復をした後に攻撃スキルを使われ、次のターンの最初に殴られて死亡、ということです。
幸い道具使用時の行動は通常攻撃と同等っぽいので、敵の通常攻撃の前に回復道具を使えればなんとかなりますが、素早さが負けている場合はもう当たらないことを祈るしかありません。
もちろん素早さが勝っていて、道具で回復出来たとしても、回復対象が再び攻撃を受けてHPが減っていない限りは、回復スキルは無駄打ちになるので、その分のTP(所謂MP)が無駄になります。
とまぁ理不尽さをだらだら述べましたが、実際後衛に攻撃が当たり、且つそれがメディックなんてことはあまりないので、もし当たったら運が悪かったと思えばいいだけの話です。
それよりも問題なのは前衛・後衛を無視しているとしか思えないスキル。
本当にそういうスキルがあるか分かりませんが、体感的に均等に当たっているスキルがあるので多分存在するのでしょう。
あぁ、攻略サイト見たくなってきた。
最後に前回の日記で『地雷じゃね?』と言ったバードですが、最近漸く使い方が分かりました。
どうやらスキルのレベルが低いから使えなかったようです。
ですが、こいつは補助のエキスパート。
ボス戦ではバイキルトやオートTP回復と言ったスキルで大いに活躍してくれますが、雑魚戦ではお荷物以外の何者でもありません。
攻撃力がそこそこあればいいのですが、ほぼ無いに等しく、かと言って攻撃スキルは覚えないのでますます使えません。
そんな訳で雑魚戦ではいつも防御コマンド。味方に迷惑をかけない最大限の努力。
結構書いたし、そろそろしりとり。
しりとり
- ムックル(むっくる)
- ダイパにおけるポッポ的ポジション。
- 大半の人は捕まえて、そらをとぶ係に。
- ムックル→ムクバード→ムクホークと進化。
次回は生気の欠片を微塵も見せないことで有名なイデさんです。
やあ。5ヶ月ぶりにmackenzieです。
大学受かりました。これでもうやりたい放題ですね。ははは。
今日明日は国立後期試験なので、三人には頑張って乗り越えて欲しいところです。そうじゃないとワシが気まずい。
まぁ、長い道のりでしたよ、ここまで。
この手の代物は自分との戦いだ、なんていいますが、実際競争相手について考えるだけの心の余裕はありませんでしたね。センター対策をやってるうちはまだ学校に通ってる分息抜きもできるし、割と短期のうちにセンターで太刀打ちできる程度のレベルに到達できたが、個別試験の段階に入ると基本的に家にこもりきりで一週間に一回外出するかどうか(それも新聞を取りにいくとかベランダの洗濯物を取り込むといったレベル)なので鬱になりますね。生まれて以来アンチ体育に生きてきた私ですら運動不足を痛感する始末。そして試験対策に向けた勉強も鬱になります。数学ⅢCとか特にね。化学もつらかった。赤本の解説で基本問題と書かれてた問題を思いっきり間違えたときの失望感とか英語のテーマ作文がさっぱり思いつかなかったときの失望感とか色々時間足りねぇという状況に対する失望感とか、とにかくやたら失望感を背負う羽目になりました。
試験日が来るまでにこのコンディションが改善するとぼんやり思いながら勉強してきたが、ほとんど改善しないまま試験日を迎えることに・・・。この時点ではもう浪人することを前提に考えてましたね。どうせ来年まであるさ、と。おかげで平常心が保てたともいえるが。
で、モチベが続くわけねーだろ、ということで前期試験が終わるや否やパソコン漬け。これは現在進行形だね。ニコニコ、ゲーム、プログラミング(JS)とまぁ一応バランスは取っているつもりだが、若干ニコニコの比重が・・・。
後期の倍率が12倍とか言うすさまじい状況だったとはいえ、投げすぎな感があるが今更いってもしょうがない。そら息切れしますよ。生きてますから。
以上受験関連報告。ちなみに私は今現在高校進路部の方から合格体験記なるものを書けと催促されている。後輩(今の二年。全く縁がない)の参考にということなのだろうが、進路部が求めるような模範的、道徳的、人道的な行いをしてこなかった人間にこういうものを書かせたらどういうことになるか、ある程度想像はつきそうなものだが・・・。まぁ実際書いた日にゃ私が消されると思いますが。
話は全く変わりますが、ニコニコ動画がSP1になった件について。独自のムービーメーカーを配布したとか、時報がさらにウザくなったとかいろいろとあるようですが、とりあえず問題が一つ。
トップページのレイアウトが使いづらい。多分こう思ってる人は少なくないと思います。
使いづれぇ、使いづれぇと嘆いてるだけでもしょうがないんでスクリプトを書いてみた。
FireFox ver 2.x + GreaseMonkeyプラグインで動くユーザースクリプトです。FireFoxの入手先はhttp://www.mozilla-japan.org/products/firefox/、GreaseMonkeyの入手先はhttp://www.greasespot.net/(英語)、GreaseMonkeyに関する情報はhttp://firefox.geckodev.org/index.php?Greasemonkeyを参照してくれ。説明すんのめんどい
で、本題のスクリプトがこれ。FireFoxでこのページにアクセスして以下のリンクをクリックするとインストール許可云々のメッセージが出るんで「インストール」を押せばインストールされる。アンインストールはツール->Greasemonkey->ユーザースクリプトの管理、から可。
// ==UserScript==
// @name ncStyleChange
// @description change nicovideo category style
// @include http://www.nicovideo.jp/*
// ==/UserScript==
function setCSS( obj, style ){
if(!obj)return;
obj.setAttribute( "style", style );
}
var cssTbl,cssTd,cssTr,cssA,cssDiv,cssUpperDiv,cssRight;
cssTbl = "padding: 0; margin: 0; display: block; width:auto;";
cssTd = "padding: 0 0.5em; margin: 0; display: inline;border-right: 1px solid #999;";
cssTr = "padding: 0; margin: 0; display: inline;";
cssA = "padding: 0; margin: 0; display: inline; color: #333; background: #fff;";
cssDiv = "padding: 0; margin: 0; display: inline; color: #333; background: #fff;";
cssUpperDiv = "float: none; width: auto;";
cssRight = "float: none; width: auto;";
var category_outer = document.getElementById('PAGEBODY').getElementsByTagName('div')[2];
var category_inner = category_outer.getElementsByTagName('div')[0];
var table = category_inner.getElementsByTagName('table')[0];
var trs = table.getElementsByTagName('tr');
var i;
for(i=0;i<trs.length;i++){
var td = trs[i].getElementsByTagName('td')[0];
var a = td.getElementsByTagName('a')[0];
var div = td.getElementsByTagName('div')[0];
setCSS(div, cssDiv);
setCSS(a, cssA);
setCSS(td, cssTd);
setCSS(trs[i], cssTr);
}
setCSS(table, cssTbl);
setCSS(category_inner, cssUpperDiv);
setCSS(category_outer, cssUpperDiv);
var right = document.getElementById('category_recent');
setCSS(right, cssRight);
要するにカテゴリー関連の要素に対してスタイルを設定するという代物。ニコ動のHTML自体がインラインでスタイル設定してるのでheadにstyle要素を埋め込んでもうまくいかない。つーかカテゴリー関連のタグにid属性やclass属性が設定されてないため、CSS単独での設定自体できない。その結果上のソースのようにごりごりDOM弄って各要素にアクセスせざ・驍セなかった。
これで一応、RC2のときのようなカテゴリーメニューが上に並ぶようなレイアウトにはなるのだが、いくつか問題が・・・。
一つ目。リンク(カテゴリーメニュー)のロールオーバーが死んでる。理由は分かりきってるけどこれを改善すると他がコケるので放置。
二つ目。リンク(カテゴリーメニュー)を押すとレイアウトが元に戻る。再びRC2風レイアウトを適用するにはリロードしないといけない。これは多分GreaseMonkeyの仕様のせい。対策としてはリンクにonclickイベントを仕込むという手が考えられるが、ニコ動の本来の機構に支障をきたしそうなのでやめとく。
そんなこんなで結局だめじゃねーか、て感じのスクリプトですが、まぁよろしければ使ってみてください。
あと前期試験が終わったことを機にJSでアクションゲームに着手。以前(記録によると去年の11月頃)に一度頓挫したが(受験勉強中に何やってんだか)、もう少し管理しやすい代物にしようということで全面的にソースを書き直しているところだが、公開の見込みは・・・どうだろ。また頓挫するかも。
そろそろしりとりにするか
しりとり
- 累積赤字(るいせきあかじ)
- 新銀行東京の取扱商品。
次は自敬さんです。
私の正式名称はpoiuloiupだとあれほど(ry
後期試験も無事(?)終わりました。poiuloiupなのです。
合格るか不合格るかまさにふたつにひとつです。
私立?ただの私立には興味ありません。
ちなみに英語はうpしません。面倒だからwww
後期試験も同様。
さて後期試験ですが、数学は前期と比べて比較的簡単になっていたと思われます。その代わり理科はやや難化したと思われます。英語は大して変わらないかと。
前期の最低点は今年はやや高め(といっても640くらい)だと思われます。ソースは勘。とりあえず結果が出るまでひまなので、バイトを2回くらい入れてみました。引越しとか全然やってないから荷物もてるか心配なんだがwww
なんかイデが面白そうなもの書いてたけど、こちらは普通にIEな件。狐は使うことないしな。しかし、ニコニコのTOPは使いづらいのも確か。どうにかならないものかね。そういえばNMMでうpした動画は拡張子がswfになるのね。mp3取り出せるか不安だったが、普通にでけた。
ではしりとり
しりとり
- 自敬(じけい)
- なんか昔かなり身分の高い人が、低い者に向かって使った言葉の使い方。
- 例えば、「申す」は謙譲語で、上司に対して「私が申し上げたことについて~」のように相手にへりくだって使うのが普通だが、何かよく分からん偉い人が、一般農民(?)にむかって「そちが申し上げたことは~」のように謙譲語を相手の動作に対して使うことで、相手をへり下し、自分をヘリ上げる用法が自敬である。
- そもそも私のニックネームはちょくちょく自敬を使ってきたことに由来するのだが、最近はまったく使わなくなってきたし、poiuloiupのほうが気に入っている。
そういえばPC同好会で適当に三送会でもやるかという話がちらほら。やるなら全員の後期試験の結果が出てからかな。
次はニック。そういえば今日で球技大会が終わりのはず。感想でも述べるのかな。
どうも、白い日ですけど特に何もしないニックです。
今日は球技大会批評でもします。ネタが無いからpoiuloiupさんのアイディアを使ったわけでは有りません。
今年の球技大会は男子はバスケとサッカー、女子はバスケとドッジボールという理不尽すぎるジェンダーフリーでした。
私のような文化系人間にはどれを選んでも地獄。どうして汗ばまない球技じゃないんでしょうね。
とりあえず私はベンチがあるという理由にひかれてバスケを選びました…。
と、こんな具合で進めば何も日記に書くまでの事でもないんですが、私のクラスのDQN二名がなんと新校舎に進入しやがったのです。
どうやら現行犯で捕まったとかプロフに書いて情報科の教員に見つかっただとか、ばれないはずも無く見事にタイーホ。
自宅謹慎となって球技大会の人員が足りなくなってしまったのです。ちなみに未だに謹慎は解かれてません。一生謹慎かもね。
よってバスケのベンチの人が減らされ、私が上手い人4人に囲まれてフルで出場する事に…。
結果は一年で二位。何でこんなについてないんでしょうね。ただ謹慎受けたのざまあぁwwwwwwwwwww
しりとり
- いにしえの王国(いにしえのおうこく)
- 大乱闘スマッシュブラザーズ(N64)で登場した隠しステージ。
- 初代では画面外も床のステージは此処のみで、やたらと貴重がられた。
- POWブロックが最強。
実はその謹慎している生徒が侵入したときのプロフと写真を保存して持っているのですが、このサイトも検閲されてるかもしれないので自重しときます。
次は蜀さん。
どうも、さっそくですがネタがないです。
学校で何をした訳でもなく、新しくゲームを買ったわけでもなく何を話せばいいのか全く分かりません。
あぁ、そういえばPC室が引越しになるので昨日で今年のPC同好会の活動は終わりですよ。
ついでに、最後の活動は紅竜刀sも交えてずっと東方してました。
もう無理です、書けません。
しりとり
- クリスマス(くりすます)
- とある聖人の誕生日。
決してあの人ではないので注意。
次会はかうさん。
『速攻スキル発動! アザーズステップ!』
『アザーズステップ?』
『レンジャーのターンとTPを6消費して効果発動!』
『こいつは仲間を支援する補助スキル
そして指定された味方はターンの一番最初に行動できる!』
『ターンの一番最初? はっ、医術防御・・・』
えぇ、世界樹ネタです。今回も誰も理解出来ない世界樹の迷宮の話。誰か買え、RPG好きならやれ。
まず、冒頭で書いたアザーズステップ。
これ便利すぎ。ボス戦ではもちろんだけど、雑魚戦でもアルケミストに効果範囲が敵全体の術式(所謂魔法)を使わせると被ダメが減って便利。
で、最後に書いてある医術防御だけど、これ反則。
ドラクエで言うとスクルト+フバーハ+マジックバリアって感じ。
これのせいで一気にぬるゲーになった。ボスの瀕死級攻撃を一桁で抑えるとか有り得んだろ。ドラクエで言う大防御以上の性能。
強すぎてボス戦も何もあったもんじゃないので自重しようと思うんだけどさ、これないとボスに勝てる気しないんだよね。
そんな訳でボスでは全滅はどころか死者すら出なくなりましたが、雑魚戦では毎回のようにレンジャーが死ぬという異常事態。レンジャー軟らかすぎだろ・・・
続いてこのゲームのお金と装備の話。
まずさ、このゲームって敵を倒しても金落とさないんですよ。
その代わりに素材を落とすんですよ。それを道具屋に持っていくと買い取ってくれて、その売った素材によって装備やら道具が出来て売り出されるんです。
でね、その装備が思いの外安価だし、その他にもお金を手に入れる方法があるので今まで財政は困らなかったんですが、突如桁を間違えたとしか思えない値段の武器が売り出されました。
それまでは高くても8000とかだったのに、何ですか? 95000って?
それゃね、値段分の強さはあると思いますよ。たださ、素材の買取り価格と明らかに釣り合ってねーだろ。確か素材売ったとき7500だったぞ、おい。
そして地味に嫌なのが宿代。レベル依存で値段が決めるっぽいんだけど、現在レベル52で約500。最終的に99まで上がるとしたら宿代に1000近くも払わないといけないのか。高すぎやしないか?
あと毎回何かしらで使い物にならないと言い続けているバードですが、攻撃がショボい理由が解りました。
ずばり装備を買い換えてなかった(爆
いや、あのね、素で忘れていた訳ではないんですよ。
このゲームの武器って不思議なことに攻撃力の他に最大HPやTPが上がるものがあるんです。
だから攻撃力は弱いけど、最大HPが増える武器を装備していたんですね。
で、財政も余裕があったので武器を買ったらそれなりに出来るじゃないですか。無事レンジャーの3分の2ほどのダメを与えられるようになりました。
でもさ、よくよく思えばバードは前衛でも後衛でも対応出来る職業だからそのくらいのダメ与えられて普通だよなぁ・・・
あと前回言ってた行動順番だけど、スキルによって遅くなるだけで、遅くなっても通常攻撃の奴より速ければ先に動けるっぽい。ただスキルを使うと(使ったスキルにも因るっぽい)かなり遅くなるので先に動けた例しがなかっただけっぽい。
あと最近は普通に後衛にも攻撃が当たるようになってきた。多分7:3くらい。
これは仕様なのか?
あとやってて薄々気付き始めたんだけど、操作性が微妙。
例えば物を売る時にYを押せば一種類の物をまとめて売れるんだけど、そんなことするなら選択したアイテムをまとめて売れるようにして欲しかったり、物を買うとき一個ずつでなく個数を指定して購入できたりして欲しかった。
他にもステータス画面を開いた時一度キャンセルしないと別のステータスを見れないとか。
あともう一つ不満を挙げるとするとストーリー。
まぁ私はストーリーを重視しない人間だから内容には触れないけど、プレイヤーに選択の幅を持たせた方が良かったんじゃないかな。ストーリーが気に喰わなかったからこういうことを言ってるわけだが
はっきり言って序盤なんてストーリー性がほぼ皆無だし、ましてやサブストーリーみたいなものもないので、もう少しストーリーに力を入れるっていう意味でも分岐みたいなのが欲しかったと思う。
そんな私の進行具合ですが、モンスター図鑑から察するにそろそろ終りが近そうです。目標としては6日に買ったので、19日までにクリアかな。
それにしても思いの外時間がかかるなぁ。ニコニコ見てるのもあるけど、10日くらいでクリア出来ると思ってたわ。
ホント近年のゲームにしては難易度高め。明らかにRPG初心者お断り。
因みに一階で全滅する確率は150%
毒吹きアゲハに殺られた後、ひっかきモグラ3匹に殺られる確率が50%
ここまでが世界樹関係の話。
さて、ここからは一般人向けな話。
まずはパソ部の打ち上げの話。
とは言ってみたけど、面倒から掲示板見ろ。
で、ニコニコの話。
最近は組曲の合唱とか替歌を聞いてるけど、歴史関係が結構ツボ。
え?微分積分もあっただろって?
さぁ?そんなの見るのは理系くらいじゃない?
さて、もうそろそろ絶望先生も始まるのでしりとり。
しりとり
- スライムナイト(すらいむないと)
- ドラクエのモンスター。5で登場してから今まで皆勤。5、6では仲間にすることができ、8でもスカウトモンスターとして登場。
- 5で初登場した時は痛恨を繰り出す上、ホイミ、マホトラが使え、更に呪文は効きにくいという序盤の難敵。
- 仲間にしてもその強さは健在で、戦士並の装備に加えて、回復呪文とイオ・イオラが使え、耐性もしっかりしているため終盤まで愛用するプレイヤーは非常に多く、最強と言うプレイヤーもいる。
- また仲間になりやすく、かしこさも20あって仲間にした時から命令を聞くので、初心者救済キャラとも考えられる。
- なおピエール、アーサーと言ったらこいつの事。
- 6ではオシャレコンテストのモンスター部門でよく利用される。強さの方はあまり話を聞かないので多分5ほどは強くないんだと思う。
- 因みに夢見の洞窟では仲間にならないので注意。
- 7ではやっぱりホイミを使う。確かダーマ周辺に出てくる。
- 8ではスカウトモンスターとして登場。案の定ホイミを使うが強くない。
- スライムナイトでここまで語る私も間違いなくスライムナイトファン。新しくなるにつれてどんどん弱体化されて結構ショック。
- だが5最強の仲間はジュエルこと踊る宝石だと思う。
次はイデ。

描いてみたら案外漢成分が少なくなってしまった、としょうもない後悔をしているmackenzieです。
とりあえず昨日、今日と授業プリント等書類を整理している。要はホッチキスの芯を抜いて紙ごみにまとめる作業なわけだが、今年一年分の授業プリントならびに放置していたZ会関連、および3年分の教科書と問題集、参考書などとまぁ量が量なので多分明日、あさってぐらいまで続きそう。
で、整理中に古文書発掘。

え~と、右から順に入学手続きかなんかのときにもらったなんか、新歓パンフ(私が一年の頃の)、一年のときの遠足のしおりですな。なんで保管してんだか。
せっかくなんで新歓のパソ部のところでも見てみよう。

・・・我々の世代でなんか変わってしまったらしい。
過去を振り返るのもほどほどにしてしりとりです。
しりとり
- トリチェリーの真空(とりちぇりーのしんくう)
- 水銀気圧計上部の真空部分。水銀蒸気を含むので厳密には真空ではない。
次はpoiuloiupです。打ちづらい・・・。
案外やることがありませんね。それからpoiuloiupは打ちやすい配置のはずだが・・・。
私も先日プリント整理などはしました。けっこうすっきりしてマンガが入るようになったZE!
マンガで話題をひとつ。
今週発売のヤングジャンプでROZEN MAIDENが連・レするぜ!
これは買うしかない。ニコニコでROZENのMADみてたらそのことについてのコメントが流れてたからYJのHP行ってみたら、表紙の一部分がモザイクになっているではないか。ということで2chに行くとしっかり先行発売分の写真が上がっておった。
どんなストーリーになるか楽しみですね。
今日行うつもりだった下こぎは明日に持ち越ししました。といっても何にもいってないけど。したこぎというのは私の造語で下見の自転車verと思ってくだされ。合格発表を自転車で行くことにした私は目的地まで一度自転車で行っておこうということです。こうすれば、2回目は1回目より確実に早く着くわけです。下北沢に行く時もキャッツ劇場に行く時も使用した手です。結構面白いかも。
そういえば20日は中学校の同窓会なのです。飯を食うだけらしいのですが。まぁ何回あるか分からないし行っておいたほうがいいというものです。
今日は本当はバイトがあるべき日なのですが、運悪くバイトの仕事が舞い込みません。先日もそうでした。これじゃ携帯代払えません。自転車でナビゲーションシステムのお手伝いという仕事(オリラジ経済白書で紹介されてた)はHPは見つけたのですが、今、募集を行っていないという始末。自給2k円だからすげーお得だと思ったのに募集なし・・・。殺到したのでしょう。
棚を整理していた時に神奈川工科大学の新学科紹介DVDが見つかったのでaviにエンコしようとしたら出来ませんでした。この辺の技術は持ち合わせていないんですよね。色々調べたけど、成功しませんでしたね。色々試してみようと思いました。
しりとり。これ絶対終わらないよね。
しりとり
- 牛(うし)
- 家畜の一種。草食動物。メスはミルクを、オスは肉を人に提供(?)する。
- 生でみたことは一度あった希ガス。
そういえば括弧ってみんなはどうしているのだろう。というのは全角か半角の話だが。私は半角にしてしまうんだよね。「!」と「?」は100%全角かも。英文がない限りは。
次回は肉。そろそろ学校も終わりますね。最近では修学旅行の話をしていますかね?べっ、別にネタを提供しているわけじゃないんだからねっ!
どうも、どうしても東方で優曇華のところで数回ミスるニックです。ちなみにマスタースパークも無理。
なんかどうもパターンが読めないんですよね。だったらボムればいいのにケチって使えないのも悲しいかな、人間の性。
永夜抄ばかりやってるから他の作品でもラストスペルをあると間違えて連続ぴちゅんも良くある事。(私だけか)
と、へたれっぷりの暴露もほどほどにしてpoiuloiupさんのネタを早速頂戴いたします。
今日は沖縄訪問の為の戦争映画を見ました。要約すると旧日本軍って最低だねって話です。
修学旅行の話終ります。
しりとり
- 視界ジャック(しかいじゃっく)
- SIRENシリーズにある「相手の視界と聴覚を盗み見る」能力の事。
- 主に謎解きや敵の配置の把握、狙撃手の見ているもの等を把握する為に使う。
次回は蜀さん。う~ん最近PCの様子がおかしい…。ビデオカードのドライバ変えたからか?
最近、「ボクのセカイをまもるヒト」ってラノベかったんですよ。
これ書いてるのはハルヒ書いた谷川流さんなのでまぁ面白いだろうって感じで。
1巻はとくに盛り上がる所も無く微妙かな?って思ったんですが、2巻最後の方なかなか盛り上がったんですね。
でもどんな風に盛り上がったかは書きません。っていうか書けません。
一応学校関係のHPなのでこれかいたらどうなるか分からないので自重します。中身が気になる方は本屋で立ち読みでもして見ましょう。
しりとり
- クビキリサイクル(くびきりさいくる)
- 戯言シリーズ第1巻。
- 天才を集めた島で起こる殺人事件の話。
次回はかうさん。修学旅行の映画のラストの方寝てたら感想文の課題が出た俺涙目
どうも、かうです。感想文だとか作文というものは踏み倒すためにあるのだと思います。
いやぁ、打ち上げ楽しかったですね。
事後承諾と言うこともあり、親には色々言われましたがまぁいいでしょう。
強いて言うならボンバーマンやりたかったな。
もちろん自重しないで。
あと頭が悪い痛いです。多分ぷよぷよのせいですが、あれぐらいの濃度でやるなら1時間に15分程度の小休止では足りないと思います。(実際には吐気や頭痛がしたら止めろと書いてあるが)
てか政治家つえぇ。先に5勝した方が勝ち(9番勝負?)でやってたけど、9セットやって1勝しかできなかった。
ああいう落ちゲーは理系の方が得意なんだろうな。
じゃあしりとり。
しりとり
- ルビンの壺(るびんのつぼ)
- 盃っぽく見えたり、顔が向き合ってるように見えるあの騙し絵。
次回は、ついに復帰の紅竜刀です。
おひさ、紅竜刀です。
昨日は国立後期の合格発表でした。正直無理だろうと諦めてたけど受かりました。ちょっと信じがたいけど、今日合格通知も届いたのでどうやら本当らしい。嬉しい限りです。
前期試験の出来の悪さにショックと焦りを感じて、その翌日から後期試験前日まで日曜以外はほぼ毎日学校行って勉強してた成果が出たんだろうか。
だって家にいたら絶対勉強する気出ないもん。もう授業がなくなってがらんとした教室、パソコンやゲームなどの誘惑のない静かな空間が切羽詰った俺に勉強の意欲をもたらしてくれたわけです。
家にいるときは1秒も勉強しないのに、学校に行くと5時間でも6時間でも勉強してる俺に自分でも驚くね。もうひとりの僕みたいな。
なんにせよ覚悟していた浪人生活が杞憂に終わってほっとしているところです。
12日に後期試験が終わってからはずっと堕落した生活を送ってるけどね。受からなかったらニートになってやるつもりだったので、もうニートのつもりで過ごしてたし。
受験勉強中ずっと我慢していたスマブラや東方、ニコニコを解禁。どれも一度やりだすとなかなか止まらないので封印してて正解だったみたい。
最近風邪気味なんだよね。花粉症と点眼・点鼻薬によるだるさ、あと喉もやられて目・鼻・喉の三重殺。季節の変わり目で気温の変動が激しいことも原因かな。試験が終わったあとでよかった。
学校の定期テストも「試験が終わった後なら風邪引いてもいいから、終わるまでは引かないでくれ」と自分に言い聞かせて、徹夜など無理してたことを思い出す。
特に1年の学年末は「試験が終わった後なら死んでもいいから、終わるまで死なないでくれ」だったなw切羽詰ると別人になるのはそのときと同じ。結局釜作には勝てなかったけどねw
話し変わって昨日の打ち上げ。短く感じたけどとても楽しい時間を過ごせた。会場を提供してくれたかうに感謝。
やっぱり対人戦こそスマブラの醍醐味だよね。WiFiで対戦できるようになったものの、みんな集まってプレイしたときのほうが楽しさはひとしお。みんな上手い。そんしリンクが倒せない。
午後4時に一区切りついたあとも、かうと蜀と俺でポケモン対戦。二人ともかなりやりこんでて手強かったがギリギリで両者に勝利できた。
昨日はとにかく楽しかった。またみんなで集まってわいわいやりたいな。
さて、日記なので今日のことも書かなくてはいけないね。
届いた合格通知と書類に目を通し、祖父母が送ってくれた鯛の塩焼きを晩御飯にいただいた。
以上。
ではしりとり。よく続いてるなぁと感心してしまう。
しりとり
- ボーダーオブライフ(ぼーだーおぶらいふ)
- 東方妖々夢6面のボス、西行寺幽々子のテーマ曲2。
- 最終スペル「反魂蝶」の時に流れる。
- テーマ曲1である「幽雅に咲かせ、墨染の桜 ~ Border of Life」の別バージョン。
- ちょっとミステリアスな雰囲気が強調されている。
明日の日記はイデさんだそうで。あっ、明日の日記はイデたんなんだからねっ!
どうも、お察しの通りmackenzieです。
特に足が痛い・・・
打ち上げの筋肉痛が治らない。すでに二日経っているが、あと二日続きそう。
打ち上げに行くとき校門に集合してみたら、ワシだけ徒歩、他自転車という状況になり、結局ワシだけ1km強走る羽目に・・・というのこの筋肉痛の原因。死ぬかと思ったぜ畜生w
ジャスコで買ったがなにか?
高校の入学式はフリースで挑んだものの、さすがに大学で同じことをやる気はないのでスイーツ(笑)スーツを買いに行った。
試着→もっと細いのを薦められる→試着→もっと細いのを薦められる、というプロセスを経て購入。このサイズは在庫が少ないと言われた。でしょうなw。
所詮safariのシェアは2%弱・・・
safariのWindows日本語環境版が出てたのでとりあえずインストール。
で、このサイトを見てみたわけだが・・・。

タイトルのフォントがゴシックしてますな。明朝体(つーかserif(ひげ付き文字))に設定したのだが。具体的なフォント名を指定すれば解決するのだろうが、そこまで細かく設定するほどフォントにこだわりがないので放置。
safariではスタイルシートの動的変更が使えなかったorz ということでMacユーザーの方はデフォルトのスタイルシートで我慢するか、別のブラウザに乗り換えてください。
おまけ?
需要に応えてみた。あるかどうか知らんが。

はいはいしりとりしりとり。
しりとり
- Firefox(ふぁいあふぉっくす)
- Mozilla Foundationが開発しているブラウザ。世界ブラウザシェア第2位を誇る。といってもトップシェアのIEが8割強を握っているわけだが。
- タブブラウジングを実装し、IEよりもセキュリティー面で優位とされている。標準技術への準拠が行き届いているあたりが個人的には一番の利点だと思う。
- 外観(テーマ)の大幅なカスタマイズが可能。テーマは配布もされている。
- 火狐、狐などと呼ばれ非公式の擬人化キャラが生み出されている。
- Firefoxをメインに使っているとアンチIEの感情が増幅される。←いまここ
次はニックです。
どうも、ニックです。学年末はクラス二位になれました。これでやっと万年三位から脱出か?
英語が落ちに落ちて39とか取っちゃいましたが、元々難しかったのでもっと悲惨な人も居るようで。主にしょ(ry
この間の打ち上げは楽しかったですね。予想していた通りぷよぷよはかうさんの独断場になりました。(←テレビ右画面的な意味で)
それにしても、スマブラで受験生で遊ぶ余裕の無かったはずの三年の方々に大敗した一年生って一体・・・。
さて、いつもならこのまましりとりに入るのがパターンですが、今日の肉は一味違う。ネタがあるんですよ。
アンサイクロペディア巡りをしていたら偶然発見したルー語変換なるものを見つけたのですよ。
コレを使うと、どんな文章でもルーさんが喋るような難解な日本語にしてしまう優れもの。では早速使ってみましょう。
今回は参考としてアンサイクロペディアの麻原 彰晃を変換してみようと思います。まずは原文から。
麻原 彰晃(あさはら しょうこう、1955年3月2日 - )尊師とは、 日本の小説家・革命家・科学者・芸能人・教育者であり、神も兼業していた恐るべき人物。 過去にはしょうこうから採ったしょこたんという愛称があった。 麻原尊師と同じく神と崇められている中川翔子(なかがわ しょこたん)が生まれるより前の話である。 太古の昔には、全世界の神々と大戦争を繰り広げたとも言われている。
で、↓が変換後
麻原 彰晃(あさはら しょうこう、1955イヤー3マンス2日 - )ホーリーマスターとは、 ジャパンのストーリーハウス・革命ハウス・サイエンスパースン・芸能人・トレーニングパースンであり、ゴッドもサイドラインしていたテリブルキャラクター。 パーストにはしょうこうから採ったしょこたんというペットネームがあった。 麻原ホーリーマスターと同じく神と崇められている中川翔子(なかがわ しょこたん)がボーンするよりビフォーのトークである。 太古のフォーマーには、全世界の神々と大ウォーをオープンしたとも言われている。
「ホーリーマスター」と書くと本当に聖職者に見えるwwあれ?聖職者だっけ?
しりとり
- スターダストレヴァリエ(すたーだすとれう゛ぁりえ)
- 東方の主人公、霧雨 魔理沙のスペルカード。永夜抄でも4Bで登場。初心者はくるくる回る。
ここで業務連絡。29~31日は帰省の為、もしかしたらPCに触れなくなる可能性があるので私のターンを飛ばしてください。
次は蜀です。
今日は終了式でしたよ。やったー明日から春休みだ。
さて、打ち上げの時スマブラでタイマンをしたかったのでトーナメントを提案。見事可決されました。
私の1回戦目の相手は自敬さん。アイテムはスマッシュボールとアシストフィギュアだけという状況です
私はファルコ、自敬さんはゲーム&ウォッチで対戦開始!
結果、自敬さんに最後の切り札を2回使われて死亡。一回戦敗退ですねorz
その後、アイテム無しでもう一回やろうという事になり私はガノンドルフを選択。
相手はニックのピカチュウ。相性的には不利ですがニックに負けるわけが無いと対戦開始!
結果、イミフな落ち方のせいで自滅し死亡。一回戦敗退orz
ってことでスマブラは散々な結果でした
しりとり
- エルフストリーク(えるふすとりーく)
- ボクのセカイをまもるヒトに登場する能力。本編で説明が無いため詳細不明。
次回はかうさんです。
どうも、かうです。
本日は通常の日記を一部変更してアーロン追悼番組をお送り致します。
アーロン氏は今日の午後5時頃、アレクサンドリアの小劇場エリアにてりゅうおう氏の店に止まり、株を売り店をも売り払いましたが買い物料を払いきることが出来ず、残念ながら破産されました。享年45ターン(推定)でした。
直接の原因はりゅうおう氏の店の買い物料の高さですが、根底には持病のポイズン、また脳が湧いていたことによるベギラゴンの誤射も原因と考えられます。
生前アーロン氏は勇者の職に就き、序盤は2位とAランクの貫禄を見せつけました。しかし出目の悪さや中盤の最下位争いにより、次第に残念な子と囁かれるようになり、終盤は最下位に定着。そして持ち前の出目の悪さにより、りゅうおう氏の店(買い物料約2700)に止まり、ベギラゴンのスフィアを発動。しかしここでアーロン氏はベギラゴンを別のエリアに放ってしまい買い物料の軽減に失敗。そのまま2700近い買い物料を払うことになり、払いきれずに亡くなりました。
では皆様、惜しくも最後までゲームに参加出来なかったアーロンに1分間の黙祷を捧げたいと思います。
黙祷!
~1分後~
今後はこのような不幸が起こらぬよう万全の対策を施したいと思います。
まあこれが今日紅竜刀さんを招いて、いたストをやった結果です。
いやぁ、びっくりしました。初めて見ましたよ、破産。
ホント良かった、破産人数3人にしてて。
もうクリアしたので最近はニコニコに時間を蝕まれつつある世界樹の迷宮ですが、暇をぬって裏ダンをやってます。
その裏ダンのマップが鬼畜すぎる。なんか自分で作った迷宮を彷彿とさせる鬼畜具合。
おまけに雑魚敵が半端なく強いし。Aボタン連打してたら間違いなく全滅する。
そろそろ裏ダンもクリアして世界樹2やりたいな。
じゃあしりとり。
しりとり
- くねくねハニー(くねくねはにー)
- 風来のシレンに出てくるハニワの形をしたモンスター。ドレイン系。
- クネクネーを踊ってシレンのレベルを下げてくる。2以上下げられると辛い。
- 基本的に10階台のモンスターだがGB2では深層に出現する強敵。
次は紅竜刀さんです。
どうも、紅竜刀です。
今日の午前中は入学手続きに行ってきました。
そして午後は昨日に続いてかう宅にお邪魔していたスト。
今日2回対戦したわけだけど、1回戦目はエアリス、ユウナという強敵たちに俺ら二人が僧侶で挑み、ナルビナ城塞という広大なマップにて全員僧侶の大接戦に。序盤から中盤にかけてはCPU同士が競り合いながら爆走していたものの、終盤には株とポーションで俺らが追いつく。ユウナをまさかの最下位に落とし、タッチの差でエアリスをかわして俺が優勝。
2回戦目はセフィロス、スコールとともに天空城へ。まず始めに言っておくがセフィロスとは残念な子である。最初のターンからセフィロスは残念だった。最初に俺が2を出して左へ、続いてかうも2を出して右へそれぞれ進み店を買う。そこで次のセフィロスも2を出し、最初のターンにもかかわらず他人の店に止まらざるを得なくなってしまったのだ。俺たちは彼が残念な子であることは知っていたので、いきなり期待に答えてくれたもんだから大爆笑。出目の悪さは昨日お亡くなりになった某アーロンを彷彿させる。まったくSランクとは思えない。これも勇者の血なのか。
その後も残念なことは続く。結局最後まで株価が上がることがなかった株を真っ先に買いに行ったセフィロス。誰も通らないところに関所を建設し、自分で通って通行料を上げる自演活動を行うセフィロス。半独占とインサイダーでSランクの意地を見せるも火力不足で目標金額に達せず、同じくそのエリアはほぼ誰も通らないため買い物料も稼げなかったセフィロス。一時期は首位に立っていたものの、終盤のみんなの追い上げと10株売り攻撃によって最下位に転落してゲームセットを迎えたセフィロス。・・・いつからこんなネタキャラになったのだろう、と二人して悩むことに。FFⅦのラスボスのはずだがそんな威厳はまったく感じられない。ただ残念の一言に尽きるのである。そんな残念な子セフィロスだがみんなには温かい目で見守ってほしい。ちなみに試合は、序盤からいきなり半独占してこつこつと株を買いため、終盤になって一気にインサイダーを仕掛けたかうが逆転優勝。
毎回CPUどもは何かしら面白いことをしてくれる。次はどんな爆笑を届けてくれるのか。
今日はこんなもんです。ではしりとり。
しりとり
- 二重結界(にじゅうけっかい)
- 東方Project主人公、博麗霊夢のスペルカード。
- 妖々夢にて連射タイプの低速移動時のボムとして使用。自機のボムとしては発動時間は短め。
- 永夜抄4面Aでも敵として登場し使用。結界によって歪んだ空間に弾幕を打ち込んでくる。
あ、明日の日記はイデたんなんだからねっ!
やぁ、いでなんだ。
いろいろと必要になりそうなんで銀行口座を作った。
で、思った。暗証番号が四桁って少なくないか?
具体的にはとり得る値は10の4乗=一万通り。ぞろ目や生年月日、電話番号など申し込み時にダメ出しされるような番号を除くと9800通り程度かな。ツールを使えば一瞬でクラックされるよな・・・。
まぁセキュリティー的なことはおいとくとして、上に書いたような数字に絡めずに四桁の数字を考えるというのはなかなか面倒くさいものでして、他のところで使ってるパスワードを流用しようにも四桁に収まらず、結局新たに考えることに。まぁこれが本来の姿なのだが。
円周率とか自然対数の底とか三角関数表とか覚えてればこういうとき便利なんだろうなと思いつつも実際そういうことをやる気はないわけで・・・。覚えるメリット少ねぇし。
話変わってJavaScriptでアクションゲーム的なやつ作ろうぜ、という自己満企画の進展について。
当たり判定系の処理が(若干バグがある臭いけど)完成し、動作アニメーションも実装。ということで割と出来上がった感があるが、そもそもまともにゲームのルールとか考えてなかったのでその辺で手痛い厨停滞中。
各種ブラウザでテスト。右上から時計回りにOpera9、Safari3、IE6、Firefox2。

IEだけマップ画像読み込みがエターなる。ローカルファイルなのに・・・普通にスタイルシートいじってるだけなのに・・・キャラクター画像は普通に読み込んでるのに・・・何故?
結論:IE氏ね!!
とはいえIEを無視してはいられないという状況。悲しいぜ畜生。
しりとり行きますよしりとり。
しりとり
- 遺伝的アルゴリズム(いでんてきあるごりずむ)
- 遺伝子をモデルにした最適解を見つけるためのアルゴリズム。AIの一種。
- 参考にしようとウィキペディアの解説を見たら訳分かんなくなった。
- 頭が\(^0^)/パーン
次はニック・・・かと思ったら帰省中だった。ということで次は蜀です。
29日の日記を30日に書いてる蜀です。
忙しくて日記を少し見忘れてたら気付いた頃にはサボりになってましたorz
皆様に重大なご迷惑をかけたことをここにお詫びいたします
しりとり
- 虫(むし)
- 主に無脊椎な動物の集まり。
申し訳ありませんが今回はこれで勘弁。
次回はかうさん
絶望したっ!
コンビニ利用者の1割が『トイレ貸して』な事に絶望したっ!
どうも、かうです。コンビニでバイトを始めたので無事ニートを脱却しました。
今日は多くの番組が最終回ですね。まぁ絶望先生もその中の一つなんですがホント残念。2クールやって欲しかった。どうせ3期は都市伝説だし。
その代わりと言ってはなんですが、来週からTBSでギアス2期が始まります。
どうやらTBSも結構推しているっぽいんだけど、いくらなんでもオールスター感謝祭見てる時にCM流れたら焦るわ。
と、言うことで皆さんギアス見ましょう。
4月6日夕方5時からTBSで放送です。
じゃあしりとり。
しりとり
- シレンジャー(しれんじゃー)
- 俺。
- 真面目に言うと『1000回遊べるRPG』がキャッチコピーの不思議のダンジョンシリーズを1000回どころでは飽き足らない人。
次は紅竜刀。4月1日でなくなって残念だね。
そう、月末といえば俺、紅竜刀です。まあ久しぶりなんだけどね月末。
ってかもう年度末、ほんとに高校生じゃなくなってしまうって感じで何となく 寂しい気がします。
さて、春休みを利用して部屋の掃除をしているわけだけど(親に言われて嫌々 )、俺に片付けができるわけもなく、他人には見せられないような部屋でまた新 学期を迎えることになりそうです。
片付けの最中に面白いものを発見。卒業前にもらった3年次の通知表。成績が 5だったのが体育だけという面白悲しいことになってました。もらったときにち ゃんと見てなかったので今更だけどビックリ。おそらく体育だけはイデに勝った はずなので満足ですが。
先日クラスの集まりがありました。公園でお花見。シート広げてご飯食べたり しゃべったり、王様ゲームも盛り上がったな。どうやら酒もなしにあのハイテン ションを維持できるのはすごいことらしい。とにかく楽しかった。
そんな中で一つ面白い状況に遭遇。どういうことでしょう、オタクとはかけ離 れた存在だと思ってた女子とらき☆すたやコードギアスの話題で盛り上がってし まいましたよ?兄が見てるから知ってるんだそうで。俺がまだギアス全話見てな いと言ったら、2期が始まるから早く見てとか言われたし。意外な人とそういう 話ができて楽しかったね。と同時に俺にはこの世の人間全てがオタクに見えてき たね。なんていうか、頭がパーン。
はいはい、某かうにも同じことを言われてたのでわずかな時間を見つけて見て ない分を見ることにするよ。ではしりとり。
しりとり
- ジャック・ザ・ルドビレ(じゃっく・ざ・るどびれ)
- 東方紅魔郷5面ボス、十六夜咲夜のスペルカード。
- 大量のナイフを弾幕として放つ。
- また、妖々夢における広範囲タイプの高速時の通常ショットも同名である。
あっ、明日の日記はイデたんなんだからねっ!